Wartość nastawy wyzwalacza przeciążeniowego ustawia się za pomocą pokrętła. Pokrętło ma wyskalowaną korektę dla sposobu instalacji i temperatury otoczenia.
Koszt wysyłki: od 0,00 zł
Numer katalogowy: GR_3RV2901-1E
Kod producenta: 614620
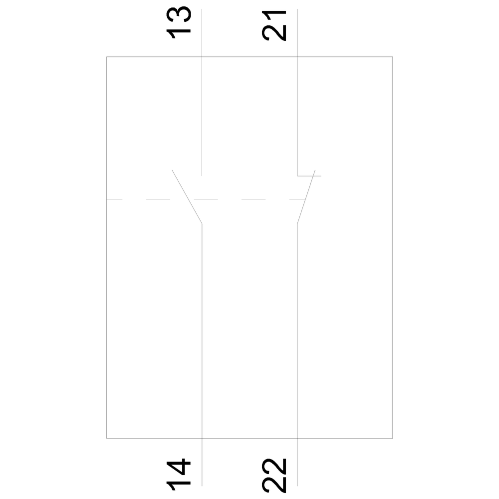
Liczba styków sygnalizacji błędu: 0
Liczba styków zwiernych: 1
Rodzaj połączenia elektrycznego: Połączenie śrubowe
Oprawka: Brak
Sposób montażu: Inne
Liczba styków rozwiernych: 1
Liczba styków przełącznych: 0
Znamionowy prąd pracy Ie dla AC-15, 230 V: 0.5A
Wyłączniki SIRIUS 3RV
Bezpieczeństwo na które Cię stać
Wyłączniki do Twoich aplikacji
Wyłączniki silnikowe
i nie tylko
SIRIUS 3RV to seria wyłączników stosowanych najczęściej do zabezpieczania silników.
Ale to nie wszystko. Dostępne są również wersje z funkcją przekaźnika przeciążeniowego, do ochrony kombinacji rozruchowych (bez członu przeciążeniowego), do ochrony transformatorów, do ochrony instalacji (bez kontoli asymetri obciążenia) oraz zgodne z UL 489.
Zobacz jakie urządzenia wchodzą w zakres wyłączników SIRIUS 3RV
Wyłączniki silnikowe Wyposażone w wyzwalacz zwarciowy i przeciążeniowy, wyzwalacz przeciążeniowy wykrywający asymetrię obciążenia (zanik fazy), odpowiednie do silników o prądzie nominalnym w zakresie 0,11...100 A. Zdolność zwarciowa Icu do 100 kA. Dedykowane do klasy rozruchowej 10 oraz w zawężonym zakresie 20. Dzięki wyzwalaczowi zwarciowemu o 13 krotności prądu nominalnego, przystosowane do silników w wykonaniu IE 3.
Wyłączniki z funkcją przekaźnika przeciążeniowego Podobnie jak standardowe wyłączniki silnikowe, dedykowane do zabezpieczenia silników elektrycznych z tą różnicą, że w momencie przeciążenia nie następuje wyzwolenie, a jedynie przełącza się wbudowany styk. Wersja taka znajdzie zastosowanie wszędzie tam, gdzie nie możemy sobie pozwolić na zatrzymanie silnika elektrycznego spowodowane jego przeciążeniem.
Wyłączniki do ochrony kombinacji rozruchowych Poprawne zabezpieczenie układu gwiazda-trójkąt wymusza zastosowanie dwóch urządzeń. Jednego, realizującego funkcję zabezpieczenia zwarciowego oraz drugiego (po stronie jednego z przewodów zasilajacych silnik) służącego do realizacji funkcji zabezpieczenia przeciążeniowego. Wyłączniki serii 3RV23 nie mają zabudowanego wyzwalacza przeciążeniowego dzięki czemu idealnie nadają się do tego zadania.
Wyłączniki do ochrony transformatorów Podczas załączania transformatora prądy przepływające przez urządzenie zabezpieczające są znacznie wyższe niż w przypadku rozruchu silnika. Może prowadzić to do sytuacji w której załączenie nie będzie możliwe z uwagi na ciągłe wyzwalanie urządzenia zabezpieczającego. Wyłączniki serii 3RV24 zostały dostosowane do tego zadania. Ich wyzwalacz zwarciowy zaczyna działać od 20 krotności prądu nominalengo.
Wyłączniki zgodne z UL 489 Specjalne wersje zgodnie z UL 789 / CSA C22.2 No. 5 dedykowane do ochrony instalacji i urzadzeń innych niż silniki (3RV27) oraz instalacji i transformatorów charakteryzujących się wysokim prądem rozruchowym (3RV28). Na pierwszy rzut oka, wersje te wyposażone są w dodatkowe elementy izolacyjne które mają za zadanie wydłużyć odstępy izolacyjne powietrzne i powierzchniowe.
System montażowy 3RV29 System montażowy 3RV29 pozwala na znaczne ograniczenie czasu potrzebnego na prefabrykację rozdzielnicy. Dostępny jest w wersjach dedykowanych do urządzeń z zaciskami śrubowymi i/lub sprężynowymi. Dzięki zastosowaniu dedykowanych łączników, znacznie ogranicza się również błędy kóre mogłyby się pojawić przy klasycznym okablowaniu.
Akcesoria Bloki styków pomocniczych, sygnalizacyjnych, moduł komunikacji bezprzewodowej. Moduł izolacyjny z widoczną przerwą izolacyjną, wyzwalacze wzrostowe lub zanikowe. Trójfazowe szyny zasilające, adaptery do szyn rozdzielczych systemu 60 mm., napędy drzwiowe... dzięki szerokiej gamie akcesoriów, wyłączniki serii 3RV spełnią każde wymagania.
Poznaj korzyści wynikające z zastosowania wyłączników SIRIUS 3RV
Zobacz, jakie pytania mieli inni użytkownicy
Wartość nastawy wyzwalacza przeciążeniowego ustawia się za pomocą pokrętła. Pokrętło ma wyskalowaną korektę dla sposobu instalacji i temperatury otoczenia.
Zgodnie z wymaganiami normy PN-EN 60204-1, wyłączniki serii 3RV nadają się do odłączania (izolowania) od napięcia. Jeżeli wymagana jest widoczna przerwa izolacyjna, można zastosować dodatkowy moduł izolacjny.
Wyłącznik bezpiecznie dobrać na środek zakresu wyzwalacza przeciążeniowego.
Klasa rozruchowa charakteryzuję ciężkość rozruchu. Określa przedział czasu, w którym wyzwoli wyzwalacz przeciążeniowy przy przepływie 7,2 krotności prądu nastawy dla zimnego wyłącznika. Dla klasy 10 jest to czas z zakresu 4...10 s.
Przemysłowa aparatura łączeniowa SIRIUS
Nikt jeszcze nie napisał recenzji do tego produktu. Bądź pierwszy i napisz recenzję.
Tylko zarejestrowani klienci mogą pisać recenzje do produktów. Jeżeli posiadasz konto w naszym sklepie zaloguj się na nie, jeżeli nie załóż bezpłatne konto i napisz recenzję.
